주식회사 릴테크
메인메뉴
회사소개
인사말
대리점현황
제품안내
세퍼레이터
트랩
수동밸브
자동밸브
엑츄에이터
기타
자료실
주요실적사진
카다로그
고객센터
공지사항
전체메뉴 열기
로그인
회사소개
인사말
대리점현황
제품안내
세퍼레이터
트랩
수동밸브
자동밸브
엑츄에이터
기타
자료실
주요실적사진
카다로그
고객센터
공지사항
전체메뉴 닫기
회사소개
인사말
대리점현황
제품안내
세퍼레이터
트랩
수동밸브
자동밸브
엑츄에이터
기타
자료실
주요실적사진
카다로그
고객센터
공지사항
기타
전기안전용품
제작품
GEAR BOX
악세사리
목록
본문
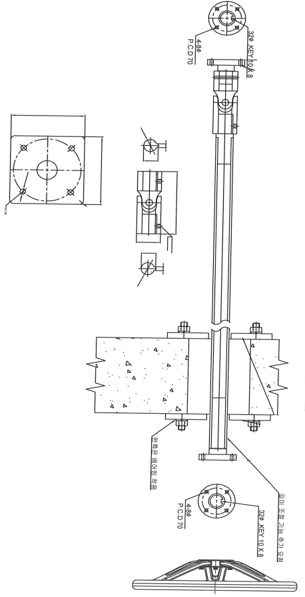
Long Stem
.
비피아이(BPI)
ADD.
전라남도 광양시 중동 2길 25
T.
061-794-5800
F.
061-794-5801
E.
bpi2023@naver.com
COPYRIGHT(C) 2025 BPI. ALL RIGHTS RESERVED.
상단으로